全产业链一站式服务提供商!
全国咨询热线:025-85508867

全生命周期设备状态监测管理系统

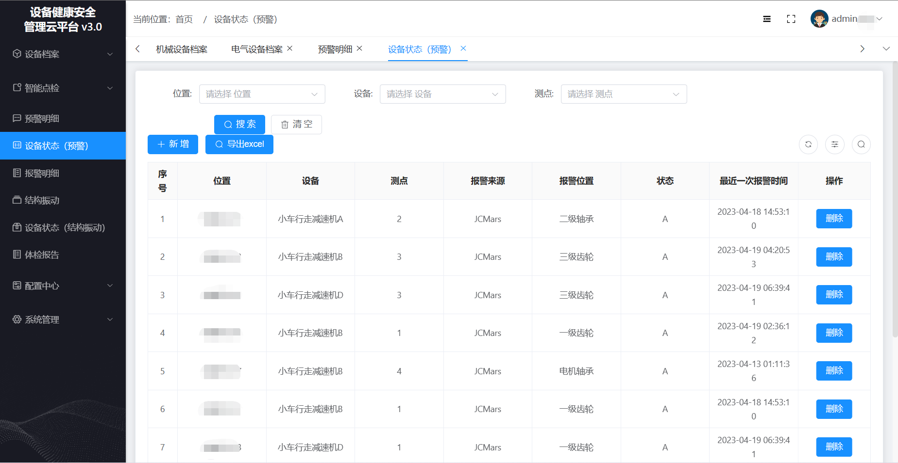
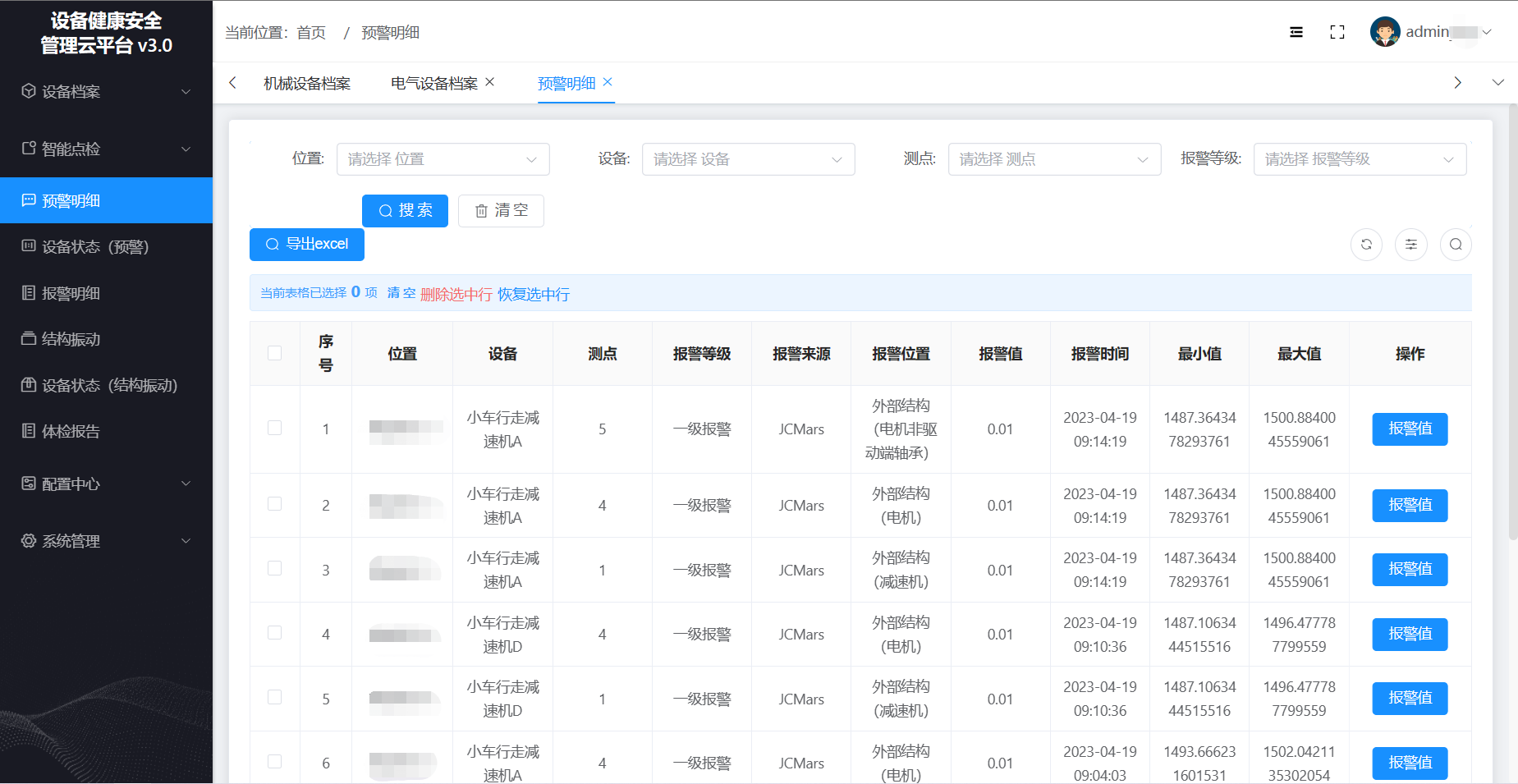
我司开发的《设备健康安全管理云平台V3.0》系统是根据设备检测《JCmars800》系统对现场设备振动、温度、油压、油品、噪音、电流等采集的数据和其它现场应用的设备管理软件等采集的数据,建立大数据分析库。通过对设备零部件的振动劣度、频次和设备频谱图形反映的故障特征等,结合拓展系统相对应的采集数据,利用科学计算概率原理,综合分析判断设备故障原因及寿命预测。

产品介绍

现场应用简介:

    可对现场重要的设备做在线监测,可24小时连续自动监测,同时建立点巡检体系,对次重要设备采用不定期临时检测,需要维护保养人员进行现场操作(操作简单),可实现所有运转设备全数字化检测、分析、判断。同时利用拓展系统对设备进行全方位、全时段科学精细化管理。

系统优点:

1)使用操作简单,利用科学精准的分析,对设备进行全数字化管理,大大提高设备的管理准确性和工作效率。

2系统分析能力能对设备的内部零部件和外部结构振动进行一定的预警,大大降低现场操作人员的专业要求,提高公司设备管理水平。

3)系统具有一定的可编辑性,利用不同的现场定制化对应的计算分析方法。

4)通过对设备状态数字化管理,更准确的对现场设备的制造,安装,维保及再制造的工作质量掌控。

5)设备现场设备运行数据长期的保存和分析,进一步优化、改进现场的设备提供有效数据及技术支撑。

6)支持多系统平台数据接入,提高设备运行状况诊断准确性。进一步开发设备管理智能化物联网系统,提高设备从研发、制造、安装、维保、再制造及备件采购等设备智能化管理体系。

后期发展和规划

该技术现在还在初期发展阶段,相对应的标准还很宽泛,频谱图故障特征还需在今后的现场设备运行过程中去完善,预警的精确度也需要对现场设备的了解后制定相对应的方案,该技术还需要一个长期的研究、发展过程。但他将对未来的企业设备智能化管理和设备智能化制造产生质的变革。我们将会和有识之士一起在这条研发的道路上脚踏实地,踔力前行。

标签: